| ROVER 45 / MG ZS - Abmessungen 1999 bis Mite 2004 - Großbritannien | |||
|---|---|---|---|
| 5-türiges Fließheck | 4-türige Limousine | ||
![]() |
![]() | ||
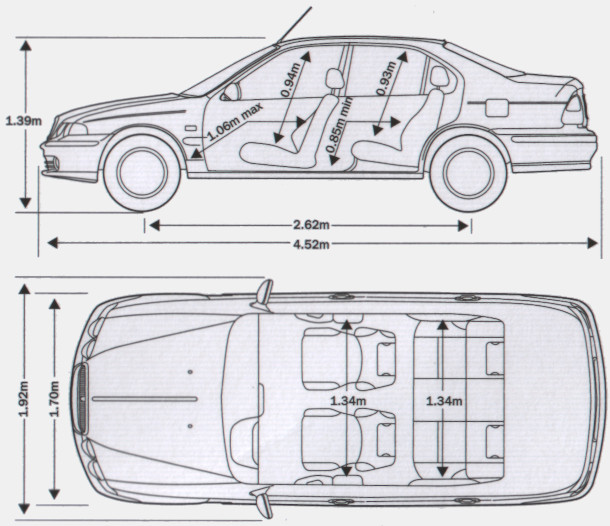
| Länge über Alles | 4362 mm | Länge über Alles | 4517 mm |
| Karosseriebreite | 1696 mm | Karosseriebreite | 1696 mm |
| Breite über Außenspiegel | 1920 mm | Breite über Außenspiegel | 1920 mm |
| Höhe | 1394 mm | Höhe | 1395 mm |
| Radstand | 2620 mm | Radstand | 2620 mm |
| Spurweite, vorn | 1475 mm | Spurweite, vorn | 1475 mm |
| Spurweite, hinten | 1465 mm | Spurweite, hinten | 1465 mm |
| Gepäckraumgröße | 380-717 l | Gepäckraumgröße | 470-810 l |
| Tankkapazität | 55 l | Tankkapazität | 55 l |
| ROVER 45 / MG ZS - Abmessungen ab Mitte 2004 - Großbritannien | |||
| 5-türiges Fließheck | 4-türige Limousine | ||
![]() | |||
© 2021-2026 by ROVER - Passion / Michael-Peter Börsig